2020-06-19 23:01:57 sunmedia 2284
7月23日,中国高端医疗设备领域的创新者开普影像宣布由其自主创新研发的首批Precision 32 精密断层能谱CT正式发机。本溪市市长田树槐,副市长吴世民、刘旭东、高巍等领导一行亲临视察并对开普影像未来的发展寄予厚望。据悉,开普影像Precision 32 精密断层能谱CT已于近日通过国家药品监督管理局(NMPA)注册获得注册证,以及获得医疗器械生产许可证以及欧盟CE认证。该产品首次实现将精密断层扫描专利技术PAxial与32层能谱成像技术的高度融合,产品一经问世即受到了客户的广泛认可。此次首批开普影像Precision 32 CT将发往东北、华中、华东、西南、华南等多家用户医院,其未来在临床的广泛应用将全面引领国产32层CT正式进入能谱时代。


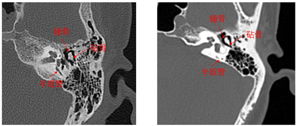
全球发明专利精密断层扫描技术PAxial全面助力精准诊断
Precision 32精密断层能谱 CT完全由开普影像自主研发,拥有多项自主知识产权和多项专利。作为开普影像第一款CT旗舰产品,Precision 32CT拥有精密断层扫描专利技术PAxial——采用创新的扫描方式增加患者纵向采样,结合精密的重建算法,从数据采样和图像重建两个领域共同实现纵向超高分辨率图像重建,显著提高细微病变的检出率。全球发明专利精密断层扫描技术PAxial使Precision 32CT能得到仅0.275mm的业内超精细图像,在内耳成像和肺小结节探查等应用中有明显优势,全面助力精准诊断。比如,内耳成像领域除了能看清听小骨及耳蜗等内耳结构外,甚至连内耳各结构之间的关系都清晰可见。

Precision 32CT0.275mm精密内耳图像?普通CT0.5mm薄层内耳图像
业内首创32层能谱技术推动高端能谱技术广泛普及
CT能谱成像是一种新兴技术,最早产生于20世纪70年代,但由于受到软硬件的限制而未能广泛应用。21世纪出现的以双kV为核心技术的能谱CT图像,为能谱成像的临床应用与研究创造了可能性。能谱CT是利用物质在不同X射线能量下产生的不同的吸收来提供比常规CT更多的影像信息的CT。与常规的单参数CT图像相比,能谱CT成像拥有涵盖多参数、定量分析的全新成像模式。
Precision 32精密断层能谱CT首次将目前高端CT具备的能谱成像技术广泛应用到32层CT,对常规CT难以定性的病灶和组织进行定性诊断和定量分析,提高诊断的精确度和安全性,将CT影像诊断成功率提升到一个全新的高度。


精确低剂量关爱回归科技人文关怀
Precision 32 精密断层能谱CT为了最大程度降低患者所受的辐射剂量,推出了超低能CT扫描、PDose、PIR等低剂量技术。提供专用的儿童扫描方案,并结合60kV超低能CT扫描和PDose精确的剂量调制,以及在适当剂量水平优化的参数为了关爱儿童而专门设计,能使儿童CT扫描剂量降低70%。PDose能根据人体各个不同部位的密度和形态智能调节各个部位的扫描剂量。而PIR高级迭代重建算法则保证了在各个低剂量扫描模式下仍然能得到高品质的图像质量。

开普影像致力于打造智慧的医学影像新生态
开普影像拥有医学影像设备的研发生产以及两第三方医学影像诊断中心大板块业务,致力于打造从高端的医疗影像设备到精准的医学影像诊断再到智慧的影像云,全面涵盖产品、服务、平台三大领域的医学影像新生态,以创新的医疗产业模式服务民生。在高端医疗设备研发制造领域,以首席科学家邹宇博士为核心的研发团队数百人分布在“中国药都”辽宁本溪以及美国芝加哥的两大研发中心,凭借深厚的自主创新实力从事CT等高端医疗设备的研发和生产。
开普影像董事长孙兆昌表示:不忘初心、埋头苦干。我们以业内惊人的速度正式推出了自主研发的首款CT,并且在获批不到一个月的时间实现了首批发机,得到了客户的广泛认可,我们深深感谢时代给与的机遇和挑战。在国家实施健康中国宏观战略规划下,开普影像将与优秀的国产医疗设备企业一道,不断赶超国际先进技术,努力使高端技术走向更广范围、更深层次的应用和普及,最终惠及民生。